|
Vezetőcsúszó betétek fülkékhez
|
Vezetőcsúszó betétek fülkékhez
Vezetőcsúszó betétek fülkékhez - SCHINDLER
|
|
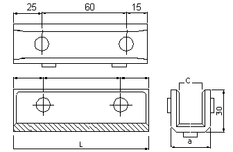
| kód |
anyag |
L x a (mm) |
C mm |
sínvastagság |
| D612110 |
Poliuretán |
177x29 |
7,5 |
7 mm (T60x60x7) |
| D612120 |
Poliuretán |
177x29 |
8,5 |
8 mm (T70x70x8) |
| D612130 |
Poliuretán |
177x29 |
9,5 |
9 mm (T80x80x9) |
| D612170 |
Poliuretán |
177x29 |
16,5 |
16 mm
(T127x88x16) | |
|
|
Comfort-Lift
|
|
| kód |
anyag |
L x a (mm) |
C mm |
sínvastagság |
| D612200 |
Poliuretán |
135x28 |
5,5 |
5 mm (T45x45x5) |
| D612220 |
Poliuretán |
135x28 |
8,5 |
8 mm (T70x70x8) |
| D612230 |
Poliuretán |
135x28 |
9,5 |
9 mm (T80x80x9) |
| D612232 |
Poliuretán |
135x28 |
10,5 |
10 mm (T75x62x10) |
| D612236 |
Poliuretán |
135x28 |
16,5 |
16 mm
(T127x88x16) | |
|
|
Comfort-Lift
|
|
| kód |
anyag |
L x a (mm) |
C mm |
sínvastagság |
| D612240 |
Poliuretán |
100x26 |
8,5 |
8 mm (T70x70x8) |
| D612241 |
Poliuretán |
100x26 |
9,5 |
9 mm (T80x80x9) |
| D612242 |
Poliuretán |
100x26 |
10,5 |
10 mm
(T75x62x10) | |
|
|
Comfort-Lift
|
|
| kód |
anyag |
L x a (mm) |
C mm |
sínvastagság |
| D612050 |
Poliuretán |
110x29 |
6 |
6 mm (T50x50x6) |
| D612055 |
Poliuretán |
110x29 |
8,3 |
8 mm (T70x70x8) |
| D612060 |
Poliuretán |
110x29 |
12,3 |
12 mm
(T100x80x12) | |
|
|
Comfort-Lift |