• Vezetősínek

  • Vezetősínek
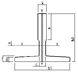
    Vezetősínek - hidegen húzott - GF2
    Vezetősínek - hidegen húzott, GF2 típus
    kód típus ISO 7465 méret mm
    D120090 GF829 T82/A 82x68x9
    D120150 GF975 T90/A 90x75x16
    D120160 GF125 T125/A 125x82x16
    Anyag: S235JRG acél (UNI EN 10025) Kr = 370 N/mm˛
    Standard hossz.: 5 m
    Tartozékok (minden egyes sínhez): 1 síntoldás - 8 csavar, alátét, anya
    Comfort-Lift

    Vezetősínek - hidegen húzott GF2 típus
    Comfort-Lift
    A változtatás jogát fenntartjuk.